Nov 10, 2025
Greg Ciurpita
Sheldon

Sheldon's Control System


Contents

Overview

Relay logic based model RR control system using wireless DC throttle supporting inductive detection:
  1. throttle assignment using push button at every block
  2. staggering required gaps stop trains in blocks with mis-matched throttle assignments
  3. throttles generate high frequency signal supporting inductive block detection
  4. push button turnout alignment support Tortoise machines
  5. signals determined by route, permission and occupancy (no APPROACH logic)
  6. permission circuit results in STOP signal when cab not selected for next block. Also supports CTC.

Features (what is does)

Panels have lighted push buttons to select throttle/cab for blocks, and releasing other cabs. A reset buttons allows deselecting all cabs.

Push button switches also route turnouts.

Signals indicate STOP, CLEAR or MEDIUM CLEAR for diverging route based on

At least in yards, staggered gaps by the length of a loco stop a loco when the same cab is not selected for next block.


Design (how is does it)


Cab Selection

A relay is needed to route a throttle to each block. Selecting any throttle needs to release any throttle relay currently set.

That relay is held using a NO contact on that relay in series with an NC contact on each of the other throttle relays. NC contacts from pairs of relays can be wired together to provide power to the opposite pair of relays, minimizing the number of contacts needed.

One or more NC push-buttons can be wired in series with power as a reset.
The Circuit Board Schematic shows the wiring connections using a 4-pole relay with the pinout shown below. The relays in the above diagram on in the left column.

It's not clear what the relays in the right column are for.


Automatic Train Stop using Staggered Gaps

Each throttle has its own power supply. Staggered rail gaps at block boundaries, at least the length of the loco, create a dead zone when different throttles are assigned to adjacent blocks. The interlocking blocks are wired so that turnout position route the power of the two adjacent blocks. The south rail thru the interlocking is powered from the block to the west. The north rail is powered from the block to the east.

The blocks at each end of the route selected thru the interlocking must be assigned to the same throttle or there is no complete circuit on the interlocking trackage. Gaps and powered rails are positioned to create the same "dead zones" for sections of track not part of the selected route. Trains that run those red signals will stop.

I use Atlas turnouts which have complete feed thru wiring. This is all it takes to redirect the power thru the interlocking based on the route. The two turnouts only move together in this case.


Turnout Control

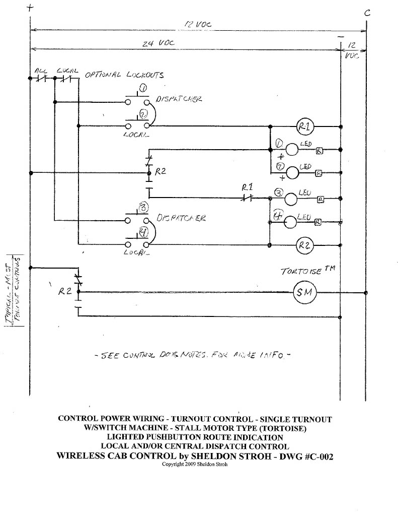
The two turnout control diagrams you have, C-002 (updated) and C-003 are the basis for nearly all applications.

C-002 will control a single turnout, a single crossover or scissors double crossover. Two of these circuits can be paired and interlocked with each other for several other track configurations.

C-003 will control a wye or two back to back crossovers.

Basic rules and features of turnout controls:

Additional circuitry: Location: I generally do not develop specific diagrams until layout construction and preliminary track wiring is underway. At that time the specific requirement of each interlocking or turnout location is established and documented.

The large interlocking at Russell junction is a special case, it has very complex interlocking of the various routes and turnouts. That schematic is partly done but not formally drawn yet. I will surely share it when it is complete.

Let me know if you have other specific questions.


Signals

There are three possible signals aspects:

STOP red or red/red
CLEAR green or green/red
MEDIUM-CLEAR red/green (diverging route)

Red/green Pairs of LED signals are wired through a resistor to a common ground and controlled with a +/- voltage such that only one is lit. The red LED is active by with a negative "(-)" voltage.

The diagrams illustrate the logic driving the signals, essentially the ORing of three conditions. A NOT condition closes a contact to "(-)" voltage.

For a signal on the trailing point of a cross-over, it will be red when

Permission signals are generated when the same throttle is selected for both the blocks before and after the signal.

An APPROACH signal can be implemented by placing a signal not associated with a turnout before a regular signal (as described above) that displays a yellow signal when the regular signal displays a red signal, otherwise it displays green.


Turnout & Signal Control

A latching relay is created by using a normally open (NO) contact to provide power once it is energized using a NO momentary switch. A normally closed (NC) momentary switch is used to disrupt power, releasing the relay.

Another set of contacts routes either +12V or -12V to a Tortoise machine.

Yet another set of contacts routes the detector outputs from one of the two possible routes to signal logic. An active block detector output results in a STOP signal.


Detectors

Inductive detectors will detect a higher frequency signal generated by a DC throttle when there is a conductive path (e.g. a motor, lamp, resistor) between the rails of a block.

Trak-DT - Basic current Detector


Permission Circuit



The permission circuit compares the status of the cabs selected for each possible route thru the interlocking. If the east and west blocks of a given route are assigned to the same cab/throttle, the permission relay for that route is energized giving a possible clear indication when the route and detection are also correct.

The permission circuit get this information by tapping the energize/hold wire of the cab selection circuits of each block. A one end of the route these wire energize a set of repeater relays. From the other end of the route these wires run to contacts on the repeaters.

A matched cab selection completes a circuit to energize the permission relay for that route. Separate contacts on the permission relay provide permission for both east and west signals on that route. Because there are four sets of contacts on the repeaters, four routes starting at the block with the repeaters can be handled without additional relays.

Here are some drawings based on the same single crossover we have been using for the other parts of the system. I have updated the signal drawing to number the permission relay contacts to match the permission circuit drawings. Additionally, the numbered wires on the permission circuit drawings correspond to the cab selection schematic.

(This is a bit of wire - BUT, the cab selection push button circuits are already near the turnout/signaling relay panel under each tower panel. So it is easy to create a terminal strip for these wires from the cab selector boards, and tap them for the permission circuits on their way to the tower panel buttons.

So all of this wiring happens on the relay panel that has the turnout controls and signaling for the interlocking. And the result repeats to the tower panel lights and dispatcher panel lights with no extra wires. Virtually all control wiring is done with multi conductor cable like CAT5, labeled and documented.)


A Junction


Block Diagram 1
The track diagram shows a turnout and track leading to different destinations, not a siding. The blocks are labeled B1, B2 and B4. Two eastbound signals indicate STOP, CLEAR and MEDIUM-CLEAR for the diverging route to B4; Westbound signals simply indicate STOP or CLEAR.

There are cab selection buttons for 4 cabs and reset. On the left to select the cab for blocks B2 or B4 based on the route selected and on the right for block B1. There are two buttons for the turnout to select the Normal or Reverse route.

The block diagram attempts to show the various and number of circuits required for a common junction and the interconnections between them illustrating how they combine to support signaling.


Double Cross-over interconnections
The diagram at right illustrates the dependencies of each possible signal circuits, how one or more turnout contacts are needed select the appropriate detection and permission circuits for determining the appropriate signal aspects or force a STOP signal when there is no option.

Layout

Freight Yard & Industrial Areas Wiring

Each yard track is divided in half with staggered gaps (i.e. auto-stop) and and each half powered from the ladder track at each end based on turnout routing. Both halves will be assigned to the same throttle if the same throttle is assigned to both ladders and the same track selected at both ends. But the entire track is assigned to a throttle if routed to from just one end. (Requires two relays per track and a good bit of wiring);

The diesel engine terminal will belong to the west end, and the steam terminal/roundhouse will belong to the east end.

The industrial areas will similarly be powered from the east and west ladders. The main freight yard, industrial areas and diesel engine terminal will use manual turnouts made from slide switches providing power. The steam terminal will likely need remote turnout.

While tracks not routed to thru a turnout is un-powered, engine terminals tracks will be powered thru toggle switches.

See X sections in Symposium on Electronics column of November 1988 Model Railroader, page 142.
The large stub end staging yard off the wye is mostly visible in my workshop area. It, and the thru staging, will be controlled from from a panel to the right of the Webster Junction control.

There will be single cab selector for the stub yard and a push button for each track that will align the route and direct power. A special detection system will show operators when they have reached the end of the yard when entering.

Thru-Staging Detection

There are three sets of staging sidings along the hidden part of the mainline as it makes a second loop around the room. At each location the double track mainline becomes 6 tracks, with two storage siding for each direction. Traffic in the hidden section of the mainline is right hand rule only.

A single button will select the desired track. It will set the turnout route at both ends and power the track to the selected throttle.

Much like the passenger terminal it will effectively feed from the middle out to the ends of the block. But in the area of the sidings only the selected track, mainline or one of the sidings will be powered.

Optical sensors will light two LED's on each of the storage track, one to indicate that you are in the block and your should stop, the second to warn you if you go too far. you will know that your train is safely in the block when the primary detection light for the mainline goes out.


Relay Panels


Russel Jct
Numbers of panels:
5 Tower panels + Russel Jct (+30 relays)
7 Staging - 4 types (34 turnouts, +22 relays)
8 east/west mainline (+12 relays)
20 total
Each panel optionally controls:

There is a relay panel for each of the 6 tower panels. The number of relays is roughly equal to the number of routes (not exactly the same as the number of turnouts). There are ~60 CTC controlled turnouts, ~10 relays per tower panel.

Only the five track Russel Jct interlocking requires extra relays. That interlocking requires about 30 relays to select, signal and direct power for twelve routes. It also prevents routes that are not logical and returns turnouts to their default when they are not part of a selected route.

The remaining interlocking relay panels are relatively simple.

The eight mainline east/west panels contains the two cab selection circuits, the two detectors and 12 other relays.

The 7 staging yards use one of four slightly different block panels.

The main freight yard, passenger terminal and industrial trackage differ. Only the passenger terminal is signaled with powered turnouts. The remaining trackage use ground throws that route track power. Those areas have simplified cab selection without signaling

How many relays?

This version of the ATLANTIC CENTRAL will require

How much power?

The dispatchers panel requires no additional relay hardware - just wire, buttons, LEDs and resistors. All just a duplicate of info and controls from the local panels.

Dollar cost average purchase price of relays over the 20 year history of the system and its development - Less that $2 each.

$3.90/80 - PC118-4C-P-24A-X 4PDT 24V relay

November 2025


Circuit Diagrams

July 2023


Track Diagrams

July 2023


Hardware

July 2023


Features & Limitations

(From Where is the hobby going?)

Features:

Limitations: